上海标准:
高端装备绳索连接的 “新范式”
来源: | 作者:上海市标准化协会 | 发布时间: 2024-12-24 | 934 次浏览 | 分享到:

Q/JW       C01-2023《钢丝绳用袋式绳头》标准是上海君威钢绳索具股份有限公司  (以下简称“君威钢绳”)2023年11月公开发布并实施的企业标准。该标准通过君 威钢绳发明专利《袋式钢丝绳固定头及其更换方法》成果转化,将理论编制和研究实 践相互结合,是指导钢丝绳用袋式绳头生产的科学操作规范。该标准填补了国际和国 内钢丝绳用固定连接头标准编制领域的空白,具有领先地位和价值。

在制定《钢丝绳用袋式绳头》标准前,君威钢绳进行广泛的市场调研,了解用户 需求和行业现状。编制组根据调研结果编制标准草案,并邀请行业专家进行评审,确 保标准的科学性和实用性。对标准草案进行实际应用测试,收集数据,验证标准的准 确性和可行性。

编制组根据中国国家标准、中国行业标准、上海市地方标准、BSI  英国国家标 准,按照GB/T    1.1—2020标准化工作导则制定《钢丝绳用袋式绳头》的详细规范。 分析过往钢丝绳使用案例和事故数据,确定改进点和制定更严格的质量标准。参考国 际上钢丝绳相关产品的标准,结合国内实际情况,制定出适应性更强的标准。

 

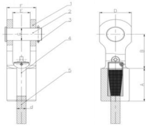
1一先:2一借3一开口4-  5-

图1袋式绳头结构

综合选取《钢丝绳用袋式绳头》标准的关键性指标,如载荷和适用性等功能性指 标、连接安全性、安装与维修性等,根据指标水平与国内外标准、国外行业标杆对比 情况及行业发展情况,上述关键指标的先进性和创新性具体体现为:

更高的载荷。由于袋式绳头主要是与钢丝绳连接使用,符合钢丝绳的载荷非常重 要 。GB/T       5973—2006《钢丝绳用楔形接头》中规定适用于10mm~12mm     公称直 径的钢丝绳,楔形接头断裂载荷为48kN,   许用载荷为16kN,  而相同规格袋式绳头断 裂载荷为153kN, 许用载荷为51kN,   能够适用于更高载荷要求的钢丝绳。

更高的适用性。用于连接和固定钢丝绳的接头强度必须要满足国内和进口钢丝绳 强度要求。当前,汽车吊、履带吊等工程机械起重设备为满足大起重量要求,往往选用1960MPa 、2160MPa    等较高强度的钢丝绳,此类钢丝绳的许用载荷和破断载荷较 高,因此对钢丝绳用固定连接头强度要求较高。以GB/T        6946—2008《钢丝绳铝合 金压制接头》规定为例,其适用于直径6mm~65mm,       公称强度不大于1870MPa 的 圆股钢丝绳用固定连接头,难以达到客户较高的要求。该标准适用于各类起重机上公 称直径12mm~52mm,       公称抗拉强度不高于2160MPa 的钢丝绳用固定连接头,适 用范围与国内标准相比较大。

更高的连接安全性。连接效率事关起重设备的工作载荷。市面上现有的钢丝绳用 固定连接头,大多采用楔形接头和铝压接头,同规格楔形接头连接效率只能达到 80%~85%,铝压接头连接效率为90%。Ropeblock    公司生产的起重用超级绕绳索 套接头 (SCS),    具有100%的连接效率。袋式绳头连接效率也能够达到100%,与 国外领先水平一致,能够替代进口,且优于现有国际、国内标准。

更简易的安装和维修方式。传统索节为一体式结构,体积较大,安装时需拆卸设 备滑轮组。袋式绳头由外壳和芯套两个独立结构组成,可以自由拆卸和安装,不需要 使用特殊工具和装备,安装过程更加简单,可缩短50%以上施工时间,提升施工效 率。钢丝绳出现故障后可将芯套与钢丝绳拆除,外壳可继续使用,显著降低装备使用 成 本 。

使用该标准生产的钢丝绳用袋式绳头已广泛应用于工程机械行业:已取代同功能 产品作为大部分履带起重机(50吨-4000吨)、汽车起重机(80吨-3000吨)、塔式起 重机(直径32mm-50mm) 、   海上起重机等工程机械设备的通用配件。

 

图2袋式绳头   

该标准的实施取得了良好的效益,具体体现为:

技术创新突破:钢丝绳用袋式绳头采用自主研发技术,解决了传统产品存在的安 装繁琐、连接效率较低和安全隐患问题,成功突破国外技术壁垒,提升国际竞争力。

客户满意度提升:依据该标准研制的袋式绳头使用更加方便,且质量更优,交期 更短,在市场上获得了用户的广泛认可。

成本优势明显:通过优化生产流程和材料选择,按该标准研制的钢丝绳用 袋式绳头打破了国际垄断,产品价格仅为国外产品的三分之一,有助于降低国内用户的采购成本。

市场份额提升:随着国内基础设施建设的快速发展,对高品质钢丝绳用固定连接 头的需求日益增长,市场前景广阔。

随着产品质量的提升和成本优势的体现,产品在国内市场的占有率持续增长,进 一步挤压国外竞争者的市场份额。使用该标准生产的钢丝绳用袋式绳头畅销国内外, 优质客户有三一重工、徐工集团、中联重科、广西柳工、太原重工、德马格、马尼托 瓦克、利勃海尔、日本神钢、特雷克斯等,并受到了客户一致好评。袋式绳头年销售 数量约10000件,配套钢丝绳索具业务销售产值约3亿元。

 

图3袋式绳头的应用

《钢丝绳用袋式绳头》标准确保了钢丝绳用袋式绳头的品质与性能。它详细规定 了生产过程中的各个环节,包括结构参数、技术要求、试验方法、检验规则、安装维 修以及标识、包装、运输和储存等方面的要求,体现了其对品质的严格追求。

正是在这一标准的严格守护下,钢丝绳用袋式绳头的安全性能得到了显著提升, 为各种应用场景筑牢了安全防线;可靠性得以加强,使其在长期使用中始终保持稳定 的性能表现;有效延长了使用寿命,为用户带来了更高的性价比。



 • 典型案例

地址:上海市武夷路258号     电话:021-54048034     邮箱:[email protected]     版权所有:上海市标准化协会